GB/T 10395.5-2021 農業機械 安全 第5部分:驅動式耕作機械
- 發表時間:2023-01-27
- 來源:共立消防
- 人氣:
1 范圍
本文件規定了農業機械懸掛式、半懸掛式和牽引式動力驅動的土壤耕作機械的結構安全要求和判定方法,本文件還規定了制造廠應提供的安全操作(包括遺留風險)信息的類型。
本文件涉及的重大危險(在附錄A中列出),危險狀態和事件與制造廠可預見條件下使用驅動式耕作機械相關(見第4章)。
本文件不適用于:
——鏟土機;
——安裝有可伸縮裝置,能連續在作物之間作業的機械。
本文件不包括環境危險,也不包括與動力傳動運動部件和專業人員維護保養機械的相關危險,但防護裝置和屏障強度要求除外。
注1:本文件不涉及對道路交通管理相關的危險。
注2:對于懸掛、半懸掛和牽引式機械,本文件未將振動作為重大危險。
本文件不適用于本文件頒布以前生產的驅動式耕作機械。
如果本文件的要求與ISO4254-1的要求不同,對按本文件的規定設計和制造的機器,本文件的要求優先于ISO 4254-1的要求。
2 規范性引用文件
下列文件中的內容通過文中的規范性引用而構成本文件必不可少的條款。其中,注日期的引用文件,僅該日期對應的版本適用于本文件;不注日期的引用文件,其最新版本(包括所有的修改單)適用于本文件。
ISO 4254-1:2013 農業機械 安全 第1部分:總則(Agricultural machinery-Safety-Part 1: General requirements)
ISO 12100 機械安全 設計通則 風險評估與風險減小(Safety of machinery-Generalprinciples for design-Risk assessment and risk reduction)
3 術語和定義
ISO 12100和ISO 4254-1界定的以及下列術語和定義適用于本文件。ISO和IEC維護以下術語數據庫,以便使用:
——IEC Electropedia:可在http://www.electropedia.org/下載;
——ISO在線瀏覽平臺可用:https://www.iso.org/obp。
3.1
驅動式耕作機械 power-driven soil-working machines
帶有動力驅動工作部件,能改變土壤結構或剖面,并在作業中將土壤中植物殘留物質或糞便切割或切碎并混合的機械。
注:見附錄B,機具舉例。
3.2
防止接觸的附加裝置 attachment preventing access
可安裝在驅動式耕作機械(3.1)上,防止從驅動式耕作機械頂部及其后部接觸到驅動工作部件的裝置。
示例:播種機。
3.3
不防止接觸的附加裝置 attachment not preventing access
可安裝在驅動式耕作機械(3.1)上,且允許與驅動式耕作機械頂部接觸的裝置。
示例:框架、輥子。
4 安全要求、降低風險和防護措施
4.1 基本要求
驅動式耕作機械應遵守本文件的安全要求,降低風險和防護措施。此外,機器應按照ISO 12100給出的原則設計,以應對本文件未涉及的重大危險。
除非本文件另有規定,驅動式耕作機械應遵守ISO4254-1的規定。
4.2 降低噪聲作為安全要求
驅動式耕作機械應符合ISO 4254-1:2013中4.3的規定。
主要噪聲源來自變速箱。
注:拖拉機或工具與土壤的接觸所引起的噪聲不受機器制造商控制。
4.3 防止意外觸及動力驅動工作部件和拋擲物
注:第4章要求的防護裝置的位置與驅動式工作部件的運行外部軌跡有關,給出的尺寸與圍繞垂直軸旋轉的工作部件和圍繞水平軸旋轉的工作部件相關,相關數據僅顯示一個示例。
4.3.1 在正常作業和維修時,為避免與驅動式耕作機械前、后、側面和頂部意外觸及驅動工作部件,機械的設計和防護應符合4.3.1.1~4.3.1.5的要求。
4.3.1.1 前面、側面和后面易觸及的區域見圖1,防護應從工作部件最外端運動軌跡延伸至距離a,柵欄開口的尺寸“a”和“b”應符合圖2的要求。
4.3.1.2 通過以下方式,防止在驅動式耕作機械頂部與工具和拋擲物接觸。
a) 提供版式(無孔)防護裝置,覆蓋工作部件運行軌跡最外端的區域。
b) 按4.3.1.1要求屏障之間和頂部的防護罩不應與運動工作部件接觸,該防護可用防護罩或任何適當的機械零部件和防護罩的結合獲得防護。
4.3.1.3 在機械處于作業狀態時,防護罩能覆蓋機具的側面和后部地面以上工作部件時,安全距離a可小于200mm(見圖3)。
4.3.1.4 在機械后部,當防護裝置通過鉸鏈進行調整以補償各種操作條件(例如地面條件)時,其防護裝置下邊緣應位于圖4的位置:
a)最大高度“e”,與驅動工作部件的最小距離“a”;
b)最大高度“i”,與驅動工作部件的最小距離“d”。
另見6.1a)。
4.3.1.5 機具頂部的防護,其零部件和屏障應保證能承受1200N的向下垂直載荷,防護罩(屏障)應能承受下列水平載荷:
a)600 N,帶水平軸的耕作機械與最大功率不大于37kW的拖拉機配套使用時;
b)1000 N,其他類型耕作機械。
應根據ISO 4254-1:2013附錄C通過測量驗證。
4.3.2 后防護裝置可以是可移動或可拆卸,以便于安裝防止觸及驅動工作部件的附件[見6.1c)]。與后防護裝置具有等效防護功能的附件可代替防護裝置,且應滿足下列條件:
a) 該零部件或附件不應是動力驅動;
b) 應防止接觸驅動工作部件:
——通過在高度為g的屏障,確保距離a,按照4.3.1.2b)通過附加兩個屏障,覆蓋該屏障和頂部護板邊緣之間的區域。如圖2c)所示。或
——在ZY線上任何點設置屏障[見圖2d)]。屏障和機具頂部之間區域應符合4.3.1.2b)的規定,如圖2d)所示通過附加的4個屏障進行覆蓋。
c) 如安裝防止接觸的附加防護裝置時(見3.2),其附加防護裝置應能使圖5的陰影區域不能觸及動力驅動工作部件,后防護[按4.3.1.1和4.3.1.2b)]應從機械兩側向內延伸至少550mm的距離。
4.3.3 帶有驅動式工作部件的耕作機械,當機具部件或工作部件不能作為正常防護時[見6.1c)和6.1d)],機具應按照4.3.1和4.3.2的要求設計成安裝有選擇性防護(由制造廠提供,并在說明書中說明)。
4.3.4 如果機械后面有拋擲物體的危險,應采取防護措施,例如使用附加防護,其后面防護應為板式防護。這種替代防護裝置應由制造商提供。操作手冊應提供有關安裝防護罩的信息。

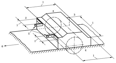
標引序號說明:
1——易觸及區域;
2——前面;
3——后面;
4——側面;
5——下懸掛點;
6——前進方向(后懸掛機械)。
圖1 易觸及區域(見4.3.1)
以上為標準部分內容,如需看標準全文,請到相關授權網站購買標準正版。
-
IG541混合氣體滅火系統
IG541混合氣體滅火系統:IG-541滅火系統采用的IG-541混合氣體滅火劑是由大氣層中的氮氣(N2)、氬氣(Ar)和二氧化碳(CO2)三種氣體分別以52%、40%、8%的比例混合而成的一種滅火劑 -
二氧化碳氣體滅火系統
二氧化碳氣體滅火系統:二氧化碳氣體滅火系統由瓶架、滅火劑瓶組、泄漏檢測裝置、容器閥、金屬軟管、單向閥(滅火劑管)、集流管、安全泄漏裝置、選擇閥、信號反饋裝置、滅火劑輸送管、噴嘴、驅動氣體瓶組、電磁驅動 -
七氟丙烷滅火系統
七氟丙烷(HFC—227ea)滅火系統是一種高效能的滅火設備,其滅火劑HFC—ea是一種無色、無味、低毒性、絕緣性好、無二次污染的氣體,對大氣臭氧層的耗損潛能值(ODP)為零,是鹵代烷1211、130 -
手提式干粉滅火器
手提式干粉滅火器適滅火時,可手提或肩扛滅火器快速奔赴火場,在距燃燒處5米左右,放下滅火器。如在室外,應選擇在上風方向噴射。使用的干粉滅火器若是外掛式儲壓式的,操作者應一手緊握噴槍、另一手提起儲氣瓶上的


