GB/T 25281-2021 道路作業人員安全標志服
- 發表時間:2023-03-09
- 來源:共立消防
- 人氣:
1 范圍
本文件規定了道路作業人員安全標志服的式樣、技術要求、試驗方法、檢驗規則,以及標志、包裝、運輸和貯存。
本文件適用于在道路上進行路政管理、養護、施工等作業的人員穿著的標志服。
2 規范性引用文件
下列文件中的內容通過文中的規范性引用而構成本文件必不可少的條款。其中,注日期的引用文件,僅該日期對應的版本適用于本文件;不注日期的引用文件,其最新版本(包括所有的修改單)適用于本文件。
GB/T 250 紡織品 色牢度試驗 評定變色用灰色樣卡
GB/T 251 紡織品 色牢度試驗 評定沾色用灰色樣卡
GB/T 1335.1 服裝號型 男子
GB/T 1335.2 服裝號型 女子
GB/T 3922 紡織品 色牢度試驗 耐汗漬色牢度
GB/T 3923.1 紡織品 織物拉伸性能 第1部分:斷裂強力和斷裂伸長率的測定(條樣法)
GB/T 3978 標準照明體和幾何條件
GB/T 3979 物體色的測量方法
GB/T 4745 紡織品 防水性能的檢測和評價 沾水法
GB/T 7742.1 紡織品 織物脹破性能 第1部分:脹破強力和脹破擴張度的測定 液壓法
GB/T 8427 紡織品 色牢度試驗 耐人造光色牢度:氙弧
GB/T 8629-2017 紡織品 試驗用家庭洗滌和干燥程序
GB/T 12490 紡織品 色牢度試驗 耐家庭和商業洗滌色牢度
GB/T 18833 道路交通反光膜
GA 732 警服材料 錦絲搭扣帶
JTG E50 公路工程土工合成材料試驗規程
3 術語和定義
本文件沒有需要界定的術語和定義。
4 道路作業人員安全標志服式樣
4.1 服裝分類
道路作業人員安全標志服(以下簡稱標志服)分普通型和網格型兩種。
4.2 普通型標志服
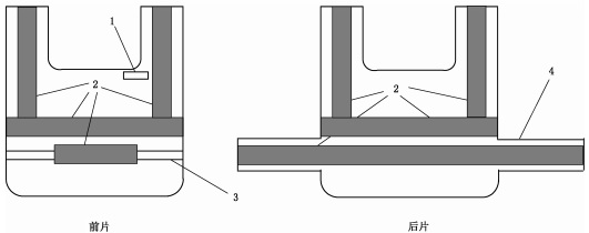
4.2.1 普通型標志服包括V字領的標志背心和標志帽,其典型式樣分別見圖1、圖2。

標引序號說明:
1——行業標記;
2——反光材料;
3——錦絲搭扣帶;
4——行業專用扣。
圖1 普通型標志背心式樣示意

標引序號說明:
1——行業標記;
2——反光材料;
3——松緊帶或搭扣。
圖2 普通型標志帽式樣示意
4.2.2 普通型標志服V字領的標志背心由熒光橘紅色的織物縫制而成,其左胸前可縫制行業標記(如可縫有如圖3所示的白底紅字的公路標記);其腰圍一圈,水平縫有反光材料(如反光布或反光帶)至少一條;兩肩應各有一條反光材料從前到后連接水平反光材料。前后片在腋下,通過縫制錦絲搭扣帶連接。正前方使用兩顆金色行業專用扣。

圖3 公路標記示意
4.2.3 標志帽為普通工作帽式樣,正前方可印黑色行業標記,除黑色行業標記以外的帽身水平縫有反光材料一條,底邊有松緊帶或搭扣,調節帽圍的大小。
4.2.4 其他服裝式樣也可參照GB20653。
4.3 網格型標志服
4.3.1 網格型標志服包括網格背心和標志帽,其式樣分別見圖4、圖5。
4.3.2 網格背心由熒光橘紅色的網眼布縫制而成。其左胸前可縫制行業標記;胸圍一圈應水平縫有兩條平行的反光材料;兩肩應各有一條反光材料從前到后連接最上面一條水平反光材料。在前片左右下方和后片的搭襻上,縫有錦絲搭扣帶,連接前后片,并可調節胸圍和腰圍的大小。
4.3.3 標志帽為普通工作帽,式樣如圖2或圖5。可用熒光橘紅色的網眼布制作,也可與普通標志帽相同。

標引序號說明:
1——行業標記:
2——反光材料:
3——錦絲搭扣帶;
4——搭襻。
圖4 網格背心式樣示意

標引序號說明:
1——行業標記:
2——松緊帶或搭扣。
圖5 網格標志帽式樣示意
5 技術要求
5.1 標志服的外觀和尺寸
5.1.1 標志服的外觀
5.1.1.1 標志服應縫制、熨燙平整,顏色均勻一致。
5.1.1.2 普通型標志服面料上不應有明顯的色差、跳絲、破洞、污斑、油漬等缺陷;前、后片應整片裁剪,不應有拼接。
5.1.1.3 網格背心的網眼布上不應有花針、漏針、橫路、拉毛、斷頭或顏色不均勻等疵點;網格背心的周邊和拼接處,應使用顏色相近的織物滾邊。
以上為標準部分內容,如需看標準全文,請到相關授權網站購買標準正版。
-
IG541混合氣體滅火系統
IG541混合氣體滅火系統:IG-541滅火系統采用的IG-541混合氣體滅火劑是由大氣層中的氮氣(N2)、氬氣(Ar)和二氧化碳(CO2)三種氣體分別以52%、40%、8%的比例混合而成的一種滅火劑 -
二氧化碳氣體滅火系統
二氧化碳氣體滅火系統:二氧化碳氣體滅火系統由瓶架、滅火劑瓶組、泄漏檢測裝置、容器閥、金屬軟管、單向閥(滅火劑管)、集流管、安全泄漏裝置、選擇閥、信號反饋裝置、滅火劑輸送管、噴嘴、驅動氣體瓶組、電磁驅動 -
七氟丙烷滅火系統
七氟丙烷(HFC—227ea)滅火系統是一種高效能的滅火設備,其滅火劑HFC—ea是一種無色、無味、低毒性、絕緣性好、無二次污染的氣體,對大氣臭氧層的耗損潛能值(ODP)為零,是鹵代烷1211、130 -
手提式干粉滅火器
手提式干粉滅火器適滅火時,可手提或肩扛滅火器快速奔赴火場,在距燃燒處5米左右,放下滅火器。如在室外,應選擇在上風方向噴射。使用的干粉滅火器若是外掛式儲壓式的,操作者應一手緊握噴槍、另一手提起儲氣瓶上的


