GB/T 38181-2019 土方機械 快速連接裝置 安全
- 發表時間:2023-03-21
- 來源:共立消防
- 人氣:
1 范圍
本標準規定了ISO 6165中定義的土方機械用快速連接裝置的安全要求。
2 規范性引用文件
下列文件對于本文件的應用是必不可少的。凡是注日期的引用文件,僅注日期的版本適用于本文件。凡是不注日期的引用文件,其最新版本(包括所有的修改單)適用于本文件。
ISO 6165 土方機械 基本類型 識別、術語和定義(Earth-moving machinery-Basic types-Identification and terms and definitions)
ISO 6750 土方機械 司機手冊 內容和格式(Earth-moving machinery-Operator's manual-Content and format)
ISO 9244 土方機械 機器安全標簽 通則(Earth-moving machinery-Machine safety labels-General principles)
ISO 10968 土方機械 司機的操縱裝置(Earth-moving machinery-Operator's controls)
ISO 12100 機械安全 設計通則 風險評估與風險減小(Safety of machinery-Generalprinciples for design-Risk assessment and risk reduction)
ISO 20474-1:2008 土方機械 安全 第1部分:通用要求(Earth-moving machinery-Safety-Part 1:General requirements)
3 術語和定義
下列術語和定義適用于本文件。
3.1
快速連接裝置 quick coupler
安裝在土方機械上,用于快速更換附屬裝置的裝置。
注:快速連接裝置通常有不同的名稱,包括“快速連接”和“連接支架”。在本標準中,僅使用術語“快速連接裝置”。
3.1.1
動力快速連接裝置 powered quick coupler
嚙合和鎖定系統中至少有一個部分的動作采用動力驅動的快速連接裝置。
示例:液壓系統或電機。
3.1.2
手動快速連接裝置 manual quick coupler
嚙合和鎖定系統的動作由人力作用在快速連接裝置上驅動的快速連接裝置。
3.1.3
混合型快速連接裝置 mixed quick coupler
快速連接裝置的連接和鎖止可在司機室內完成,但是松開需要人力在快速連接裝置上操作
3.2
嚙合系統 engagement system
與附屬裝置嚙合并將附屬裝置保持在工作位置的機械系統。
3.2.1
形鎖嚙合系統 form-locked engagement system
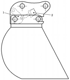
通過至少兩個部件將附屬裝置保持在正常工作位置的嚙合系統,這兩個部件彼此嚙合垂直于工作力以確保工作力不能導致附屬裝置脫離(見圖1)。

說明:
1——嚙合系統處于接合位置;
2——嚙合系統處于脫離位置。
圖1 形鎖嚙合系統示例
3.2.2
力鎖嚙合系統 force-locked engagement system
因工作力沿脫離的方向作用,通過連續施加嚙合力保持嚙合的嚙合系統(見圖2)。

說明:
1——嚙合系統;
2——嚙合力裝置。
圖2 力鎖嚙合系統示例
3.2.3
摩擦嚙合系統 friction system
僅依靠摩擦力進行嚙合的系統(見圖3)。

說明:
1——嚙合系統;
2——嚙合力裝置。
圖3 摩擦嚙合系統示例
以上為標準部分內容,如需看標準全文,請到相關授權網站購買標準正版。
-
IG541混合氣體滅火系統
IG541混合氣體滅火系統:IG-541滅火系統采用的IG-541混合氣體滅火劑是由大氣層中的氮氣(N2)、氬氣(Ar)和二氧化碳(CO2)三種氣體分別以52%、40%、8%的比例混合而成的一種滅火劑 -
二氧化碳氣體滅火系統
二氧化碳氣體滅火系統:二氧化碳氣體滅火系統由瓶架、滅火劑瓶組、泄漏檢測裝置、容器閥、金屬軟管、單向閥(滅火劑管)、集流管、安全泄漏裝置、選擇閥、信號反饋裝置、滅火劑輸送管、噴嘴、驅動氣體瓶組、電磁驅動 -
七氟丙烷滅火系統
七氟丙烷(HFC—227ea)滅火系統是一種高效能的滅火設備,其滅火劑HFC—ea是一種無色、無味、低毒性、絕緣性好、無二次污染的氣體,對大氣臭氧層的耗損潛能值(ODP)為零,是鹵代烷1211、130 -
手提式干粉滅火器
手提式干粉滅火器適滅火時,可手提或肩扛滅火器快速奔赴火場,在距燃燒處5米左右,放下滅火器。如在室外,應選擇在上風方向噴射。使用的干粉滅火器若是外掛式儲壓式的,操作者應一手緊握噴槍、另一手提起儲氣瓶上的


