GB/T 9343-2008 塑料燃燒性能試驗方法 閃燃溫度和自燃溫度的測定
- 發表時間:2022-11-24
- 來源:共立消防
- 人氣:
1 范圍
本標準規定了用熱空氣爐測定塑料的閃燃溫度和自燃溫度的方法。
本標準適用于塑料的閃燃溫度和自燃溫度的測定。
本標準的試驗結果可比較不同材料在試驗條件下的著火特性,可描述在試驗條件下材料著火的最低周圍空氣溫度;在實際使用條件中,本標準試驗結果可以作為材料著火敏感性等級劃分的依據。
本標準并不直接測量塑料的燃燒性能、燃燒速度或其安全使用的上限溫度,本標準也不能單獨描述或評定實際火災狀況下的材料、產品或組合件的火災危險性。盡管如此,試驗的結果可作為火災危險性評價因素之一。
2 規范性引用文件
下列文件中的條款通過本標準的引用而成為本標準的條款。凡是注日期的引用文件,其隨后所有的修改單(不包括勘誤的內容)或修訂版均不適用于本標準,然而,鼓勵根據本標準達成協議的各方研究是否可使用這些文件的最新版本。凡是不注日期的引用文件,其最新版本適用于本標準。
GB 2918-1998 塑料試樣狀態調節和試驗的標準環境(idt ISO 291:1997)
3 術語和定義
下列術語和定義適用于本標準。
3.1
閃燃溫度(FIT)flash-ignition temperature
在特定的試驗條件下,材料釋放出的可燃氣體能夠被火焰點著,這時試樣周圍空氣的最低溫度叫作該材料的閃燃溫度。
3.2
灼熱燃燒 glowing combustion
由材料慢慢分解和碳化引起的,材料的固相中無火焰,燃燒區域伴有發光現象的燃燒。
3.3
自燃溫度(SIT) self-ignition temperature
在特定的試驗條件下,無任何火源的情況下發生燃燒或灼熱燃燒,這時周圍空氣的最低溫度叫作該材料的自燃溫度。
4 試驗儀器
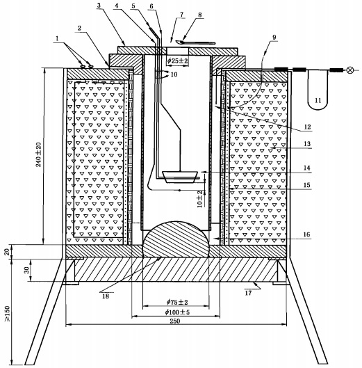
4.1 熱空氣爐 圖1所示,主要由一套電加熱裝置和試樣盤組成。
4.2 爐管 用金剛砂制成。內徑100mm±5mm,長度240mm±20mm,耐溫不低于750℃。爐管垂直放置在清理渣滓塞子的上方。
4.3 內管 用耐火材料制成。內徑75mm±2mm,長度240mm±20mm,壁厚3mm,耐溫不低于750℃。內管放置在爐管內,用三個耐火的小墊塊墊起,高于爐底20mm±2mm。頂部有一用耐火材料制作的頂蓋,頂蓋中間有一直徑為25mm±2mm的開口,用于觀測并可讓煙霧和氣體通過。
注1:頂部耐火材料可以是硅玻璃或不銹鋼材料。
4.4 空氣源 過濾后的空氣,通過一根銅管以穩定、可控制的速度流過爐管與內管之間的靠近頂部的環狀空間內。空氣在兩個管子間加熱、流通,最后在底部進入內管。空氣流量用轉子流量計或其他適宜的裝置測定。
4.5 電加熱裝置 用1.3mm±0.1mm金屬合金加熱絲均勻纏繞在爐管上50圈,外包耐火材料制成的夾套。
注2:其他結構(如:細加熱線圈熔鑄在陶瓷纖維中)也是可行。
4.6 隔熱層 用礦物纖維絨填充夾套和爐殼之間,填充厚度約60mm。
4.7 點火器 用內徑1.8mm±0.3mm的銅管制成,水平放置在圓形頂蓋開口中心上方5mm士1mm處。火焰長度20mm±2mm。燃氣為含量不低于94%的丙烷。
4.8 試樣盤 用0.5mm厚的不銹鋼板制作。直徑40mm±2mm,深度15mm±2mm;圓形底被直徑大約2mm的不銹鋼焊條環繞,環上焊接一根相同材質的桿,延伸到爐子的蓋頂,如圖1所示。試樣盤的底部定位于引燃點火器邊緣的下方185mm±2mm處。
4.9 熱電偶 用直徑0.5mm鉻-鎳基熱電偶合金(K型)或鐵-銅鎳合金(J型)連接著一個誤差不超過士2℃校準過的記錄儀進行溫度測量。
4.10 控溫裝置 由一個合適的可變變壓器或自動控制裝置連接加熱裝置。
4.11 計時器 精確至秒。
5 熱電偶的位置
5.1 熱電偶TC1(如圖1所示)測量樣品的溫度T1。位置盡可能的靠近試樣上表面的中心部位,熱電偶金屬絲縛在樣品載體棒上。
5.2 熱電偶TC2(如圖1所示)測量經過試樣的空氣溫度T2。它位于樣品盤下方10mm±2mm處。熱電偶金屬絲縛在樣品載體棒上。
注1:熱電偶TC2也可以安裝在試樣盤的下方的鉆孔中。
5.3 熱電偶TC3(如圖1所示)測試加熱線圈的溫度T3。放置于爐子加熱圈附近。
注2:熱電偶TC3也可以是直徑為1.6mm±0.1mm金屬鎧裝的熱電偶。
6 試樣
6.1 材料可以是任何形式,包括復合材料。但它的形式的本質必須在試驗報告中充分描述。注1:無機填料含量較高的樣品是難評估的。注2:相同的材料在不同狀態下測試,結果可能不同。
6.2 密度大于100kg/m3的試樣質量為3.0g±0.2g。粒狀或粉末狀材料,通常要加工成型。片狀材料切割成正方形,最大尺寸為(20mm±2mm)×(20mm±2mm),堆積起來達到試樣的質量要求。薄膜材料,卷起一條20mm±2mm寬的帶,長度達到試樣的質量要求。
6.3 密度小于100kg/m3的泡沫狀試樣,切除外皮,試樣制成(20mm±2mm)×(20mm±2mm)×(50mm±5mm)的塊狀。
如果由于試樣體積大、質量輕,易受爐中的氣流影響而從試樣盤中滑落,試樣要用一根細的金屬絲束縛起來。
6.4 試樣材料量至少能滿足兩次測試的要求。
6.5 試樣狀態調節 試樣按GB/T 2918-1998中的規定,試驗前在環境溫度23℃±2℃、相對濕度50%±5%的條件下放置不少于40h。
試樣的狀態調節亦可按供需雙方商定的條件進行,有爭議時必須執行本標準的規定。
單位為毫米

1——加熱終端;
2——墊圈;
3——圓形耐火隔板;
4——熱電偶TC2;
5——支桿;
6——熱電偶TC1;
7——空氣供應器;
8——引燃火焰;
9——熱電偶TC3;
10——金屬紐扣;
11——空氣流動儀表(不屬于爐裝置);
12——氣流相切缸;
13——隔熱層;
14——試樣盤;
15——加熱金屬絲;
16——耐火墊塊;
17——熱絕緣(可移動式);
18——檢查塞(可移動式)。
圖1 熱空氣試驗爐
7 試驗步驟
7.1 閃燃溫度(FIT)
7.1.1 調整通過內管(4.3)的全斷面的空氣流量Qv(L/min),Qv值利用式(1)計算,空氣流量控制在計算值的±10%內,調節空氣的流速至25mm/s。
Qv=6.62×293/T ………………………………………… (1)
以上為標準部分內容,如需看標準全文,請到相關授權網站購買標準正版。
-
IG541混合氣體滅火系統
IG541混合氣體滅火系統:IG-541滅火系統采用的IG-541混合氣體滅火劑是由大氣層中的氮氣(N2)、氬氣(Ar)和二氧化碳(CO2)三種氣體分別以52%、40%、8%的比例混合而成的一種滅火劑 -
二氧化碳氣體滅火系統
二氧化碳氣體滅火系統:二氧化碳氣體滅火系統由瓶架、滅火劑瓶組、泄漏檢測裝置、容器閥、金屬軟管、單向閥(滅火劑管)、集流管、安全泄漏裝置、選擇閥、信號反饋裝置、滅火劑輸送管、噴嘴、驅動氣體瓶組、電磁驅動 -
七氟丙烷滅火系統
七氟丙烷(HFC—227ea)滅火系統是一種高效能的滅火設備,其滅火劑HFC—ea是一種無色、無味、低毒性、絕緣性好、無二次污染的氣體,對大氣臭氧層的耗損潛能值(ODP)為零,是鹵代烷1211、130 -
手提式干粉滅火器
手提式干粉滅火器適滅火時,可手提或肩扛滅火器快速奔赴火場,在距燃燒處5米左右,放下滅火器。如在室外,應選擇在上風方向噴射。使用的干粉滅火器若是外掛式儲壓式的,操作者應一手緊握噴槍、另一手提起儲氣瓶上的


