GB/T 14983-2008 耐火材料 抗堿性試驗方法
- 發表時間:2022-12-18
- 來源:共立消防
- 人氣:
1 范圍
本標準規定了耐火材料抗堿性試驗方法的原理、設備、試樣、試驗程序、結果評定及試驗報告。
本標準適用于耐火材料抗堿性的測定。
2 規范性引用文件
下列文件中的條款通過本標準的引用而成為本標準的條款。凡是注日期的引用文件,其隨后所有的修改單(不包括勘誤的內容)或修訂版均不適用于本標準,然而,鼓勵根據本標準達成協議的各方研究是否可使用這些文件的最新版本。凡是不注日期的引用文件,其最新版本適用于本標準。
GB/T 5072 耐火材料 常溫耐壓強度試驗方法
GB/T 7321 定形耐火制品試樣制備方法
GB/T 8170 數值修約規則
GB/T 10325 定形耐火制品抽樣驗收規則
GB/T 16839.1 熱電偶 第1部分分
GB/T 16839.2 熱電偶 第2部分 允差
GB/T 17617 耐火原料和不定形耐火材料 取樣
GB/T 18930 耐火材料術語
3 術語和定義
GB/T 18930確立的術語和定義適用于本標準。
4 方法1(堿蒸氣法)
本方法適用于定形耐火制品抗堿性的測定。
4.1 原理
在1100℃溫度下,碳酸鉀(K2CO3)與木炭反應生成堿蒸氣,對耐火材料試樣發生侵蝕作用,生成新的堿金屬的硅酸鹽和碳酸鹽化合物,使材料性能發生變化。
4.2 設備和材料
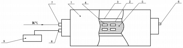
4.2.1 試驗爐,臥式抗堿試驗加熱爐(見圖1),最高加熱溫度為1300℃,爐膛直徑不小于110mm,保溫期間恒溫區長度不小于100mm,溫差不大于±10℃。
4.2.2 溫度測量及控制裝置
4.2.2.1 溫度測量用帶保護套管的熱電偶。熱電偶應符合GB/T 16839.1和GB/T 16839.2的要求。
4.2.2.2 溫度控制系統應能按規定的程序升溫。
4.2.3 石墨坩堝,內徑80mm,壁厚5mm,高80mm。坩堝蓋與坩堝以粗螺紋連接。
4.2.4 電熱干燥箱。
4.2.5 游標卡尺,或精度為0.1mm的其他量具。
4.2.6 天平,分度值0.1g。
4.2.7 試劑,木炭粉粒徑小于2.0mm時,須先在150℃下烘30min。碳酸鉀(K2CO3)為化學純,二者必須在加熱狀態下按質量比1:1混勻。
4.2.8 工業氮氣。
1——加熱爐:
2——石墨坩堝;
3——剛玉管;
4——試樣;
5——K2CO2與木炭混合粉;
6——出氣管;
7——進氣管;
8——熱電偶;
9——溫度控制裝置。
圖1 堿蒸氣法抗堿性試驗裝置示意圖
4.3 試樣
4.3.1 數量
每組12個試樣。
4.3.2 形狀和尺寸
試樣為邊長20mm的立方體,偏差不大于±0.1mm。
平行度、垂直度的偏差均不大于1%。
4.3.3 制備
試樣在3塊整磚中按圖2所示部位切取,研磨成立方體,要求試樣六面光滑,棱角完整,相對面平行。(1~3)號試樣作抗堿試驗,(4~6)號試樣作常溫耐壓強度測定(參見GB/T 5072),其余試樣備用。
圖2 取樣部位示意圖
4.4 試驗步驟
4.4.1 試樣尺寸測量
用游標卡尺測量試樣的尺寸,并記錄,精確至0.1mm。
4.4.2 裝樣
4.4.2.1 裝樣時,應先在坩堝底鋪一層5mm厚的試劑,裝第1層試樣。然后鋪3mm厚試劑再裝第2層試樣,不允許木炭與碳酸鉀有分層現象。試樣與坩堝壁之間的間隙不小于3mm。
4.4.2.2 裝好試樣的石墨坩堝旋上石墨蓋并留一扣空隙,送進爐管中,置于爐內的恒溫區,在爐管進氣方向石墨坩堝前,裝入少量3mm~5mm的木炭塊。
4.4.2.3 測溫管與通氣管在爐管同一端,測溫熱電偶保護套管必須接觸石墨坩堝,保證測溫的準確性。
4.4.2.4 裝好試樣后,爐管兩端嚴格密封,出氣管引出室外。
4.4.3 加熱
將氮氣按(1±0.1)L/min的流量通入爐管中,同時接通加熱爐的電源,按10℃/min升溫至(1100±10)℃,在該溫度下保溫30h。
4.4.4 冷卻
保溫結束后,試樣隨爐自然冷卻到300℃以下,停氣同時夾住爐管兩端進出氣管,以免外界空氣吸入。繼續冷卻至室溫,取出試樣。
4.4.5 強度測量
參照GB/T 5072的規定進行耐壓強度的測定。
4.5 結果評定
4.5.1 目測判定
以3塊試樣中等級相同的2塊為準,如出現3塊試樣判屬等級均不一致,應重新取樣檢驗。評定標準如下:
一類:表面黑色無缺損,斷口僅侵蝕1mm~4mm;
二類:表面黑色邊角缺損嚴重,有細小裂縫,整個斷口為灰黑色,只有核心少量未侵蝕;
三類:表面黑色且有明顯裂縫,邊角缺損嚴重,整個斷口黑色。
4.5.2 強度判定
強度變化率Pr,以%表示,按式(1)計算:

式中:
P0——抗堿試驗前試樣的常溫耐壓強度,單位為兆帕(MPa);
P1——抗堿試驗后試樣的常溫耐壓強度,單位為兆帕(MPa)。
4.5.3 顯微結構判定
一類:空隙多被無定形碳充填,試樣多被堿侵蝕生成含鉀的硅酸鹽或碳酸鹽化合物(磚保持原狀,裂紋較?。?;
二類:空隙多被無定形碳和碳酸鉀充填,試樣局部和顆粒料周邊被堿侵蝕生成鉀霞石和石榴子石化合物(磚裂縫較大);
三類:空隙多被無定形碳、碳酸鉀和鋁酸鉀充填,試樣幾乎完全被堿侵蝕生成鉀霞石和石榴子石化合物(磚破裂)。
注:顯微結構判定根據用戶要求作判斷參考。
5 方法2(熔堿坩堝法)
本方法適用于普通耐火材料抗堿性的測定。
5.1 原理
將一定量的碳酸鉀(K2CO3)放入試樣內,在高溫下堿與試驗材料反應發生體積膨脹,觀察試樣的破壞程度。
以上為標準部分內容,如需看標準全文,請到相關授權網站購買標準正版。
-
IG541混合氣體滅火系統
IG541混合氣體滅火系統:IG-541滅火系統采用的IG-541混合氣體滅火劑是由大氣層中的氮氣(N2)、氬氣(Ar)和二氧化碳(CO2)三種氣體分別以52%、40%、8%的比例混合而成的一種滅火劑 -
二氧化碳氣體滅火系統
二氧化碳氣體滅火系統:二氧化碳氣體滅火系統由瓶架、滅火劑瓶組、泄漏檢測裝置、容器閥、金屬軟管、單向閥(滅火劑管)、集流管、安全泄漏裝置、選擇閥、信號反饋裝置、滅火劑輸送管、噴嘴、驅動氣體瓶組、電磁驅動 -
七氟丙烷滅火系統
七氟丙烷(HFC—227ea)滅火系統是一種高效能的滅火設備,其滅火劑HFC—ea是一種無色、無味、低毒性、絕緣性好、無二次污染的氣體,對大氣臭氧層的耗損潛能值(ODP)為零,是鹵代烷1211、130 -
手提式干粉滅火器
手提式干粉滅火器適滅火時,可手提或肩扛滅火器快速奔赴火場,在距燃燒處5米左右,放下滅火器。如在室外,應選擇在上風方向噴射。使用的干粉滅火器若是外掛式儲壓式的,操作者應一手緊握噴槍、另一手提起儲氣瓶上的


