GB/T 18511-2017 煤的著火溫度測定方法
- 發表時間:2022-12-29
- 來源:共立消防
- 人氣:
1 范圍
本標準規定了測定煤的著火溫度的術語和定義、方法提要、試劑、儀器設備、煤樣處理、試驗步驟、結果表述、方法精密度和試驗報告。
本標準適用于褐煤、煙煤和無煙煤。
2 規范性引用文件
下列文件對于本文件的應用是必不可少的。凡是注日期的引用文件,僅注日期的版本適用于本文件。凡是不注日期的引用文件,其最新版本(包括所有的修改單)適用于本文件。
GB/T 483-2007 煤炭分析試驗方法一般規定
3 術語和定義
GB/T 483-2007界定的以及下列術語和定義適用于本文件。為了便于使用,以下重復列出了GB/T 483-2007中的一些術語和定義。
3.1
著火溫度 ignition temperature
煤釋放出足夠的揮發分與周圍大氣形成可燃混合物的最低燃燒溫度。
[GB/T 483-2007,定義3.2.35]
4 方法提要
將處理過的煤樣放入著火溫度測定裝置中,以一定的速度加熱,到一定溫度時,煤樣突然燃燒。記錄測量系統內空氣體積突然膨脹或升溫速度突然增加時的溫度,作為煤的著火溫度。
5 試劑
警示-由于聯苯胺為中等毒性的致癌物質,所以在試驗過程中應盡量減少其在空氣中長時間暴露,操作應在通風櫥中進行,避免人體與其有直接接觸。
除非另有說明,在分析中僅使用確認為分析純的試劑和蒸餾水或去離子水或相當純度的水。
5.1 亞硝酸鈉:使用前應在102℃~105℃的鼓風干燥箱中干燥1h。
5.2 聯苯胺。
5.3 還原劑:稱取0.075g亞硝酸鈉與0.0025g聯苯胺混合均勻。試驗前配制。
5.4 過氧化氫溶液:質量分數為30%。
6 儀器設備
6.1 著火溫度測定裝置
裝置如圖1所示,各部分要求如下:
a)加熱爐:圓形,能加熱到600℃,溫度可調。
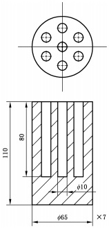
b)加熱體:銅或鋁合金制,7孔,見圖2。
c)溫度測控儀:能在100℃~500℃范圍內控制升溫速度為4.5℃/min~5.0℃/min,測溫精度±1℃。
d)緩沖球(見圖3)。
單位為毫米

說明:
1——水槽;
2——加熱爐;
3——加熱體;
4——試樣管;
5——溫度測控儀;
6——熱電偶;
7——緩沖球;
8——量水管三通;
9——儲水管三通;
10——儲水管;
11——水準瓶;
12——量水管。
圖1 著火溫度測定裝置
單位為毫米

圖2 銅加熱體
單位為毫米

圖3 緩沖球
6.2 著火溫度自動測定儀
測定儀如圖4所示,主要由加熱裝置和自動測量系統組成,各部分要求如下:
a) 加熱裝置:加熱爐與加熱體。
b) 自動測量系統:能在100℃~500℃范圍內控制升溫速度為4.5℃/min~5.0℃/min,測溫精度±1℃,能自動判斷和記錄煤的著火溫度。

說明:
1——加熱爐:
2——加熱體:
3——熱電偶:
4——升降桿;
5——自動測量系統。
圖4 著火溫度自動測定儀
6.3 試樣管
耐熱玻璃制,如圖5所示。
單位為毫米

圖5 試樣管
6.4 真空干燥箱
能控溫在50℃~60℃,壓力在53kPa以下。
以上為標準部分內容,如需看標準全文,請到相關授權網站購買標準正版。
-
IG541混合氣體滅火系統
IG541混合氣體滅火系統:IG-541滅火系統采用的IG-541混合氣體滅火劑是由大氣層中的氮氣(N2)、氬氣(Ar)和二氧化碳(CO2)三種氣體分別以52%、40%、8%的比例混合而成的一種滅火劑 -
二氧化碳氣體滅火系統
二氧化碳氣體滅火系統:二氧化碳氣體滅火系統由瓶架、滅火劑瓶組、泄漏檢測裝置、容器閥、金屬軟管、單向閥(滅火劑管)、集流管、安全泄漏裝置、選擇閥、信號反饋裝置、滅火劑輸送管、噴嘴、驅動氣體瓶組、電磁驅動 -
七氟丙烷滅火系統
七氟丙烷(HFC—227ea)滅火系統是一種高效能的滅火設備,其滅火劑HFC—ea是一種無色、無味、低毒性、絕緣性好、無二次污染的氣體,對大氣臭氧層的耗損潛能值(ODP)為零,是鹵代烷1211、130 -
手提式干粉滅火器
手提式干粉滅火器適滅火時,可手提或肩扛滅火器快速奔赴火場,在距燃燒處5米左右,放下滅火器。如在室外,應選擇在上風方向噴射。使用的干粉滅火器若是外掛式儲壓式的,操作者應一手緊握噴槍、另一手提起儲氣瓶上的


